
The current motto for Canadian powersport manufacturer Bombardier (BRP) is "Powersports and nothing else." That's not exactly true, as the company's actual motto is "Adventure by design." But in recent months, as the market has shrunk, global economic turmoil has taken hold, and everyone's tightened their belts, the manufacturer has decided to really focus on the powersports segment and nothing more.
As such, it's moved to sell off its boat businesses as they've been deemed "not in the powersports space." Going forward, as the company's CEO José Boisjoli has stated, will only be that of snowmobile brand Ski-Doo, off-road brand Can-Am, and personal watercraft brand Sea-Doo. And, honestly, that makes a lot of sense given the state of the world right now. Better to play to your strengths versus stretch into an area that might not serve your core consumers.
That said, I wonder how this all-electric hydrofoil surfboard fits into that new mandate? It's certainly interesting, but is it powersports? I'll let you decide.
The patent is titled "Lift-Propulsion System for a Watercraft and Watercraft Having Same," which is absolutely a catchy title. Sarcasm. But the contents within are actually really catchy to say the least, as well as the patent's images.
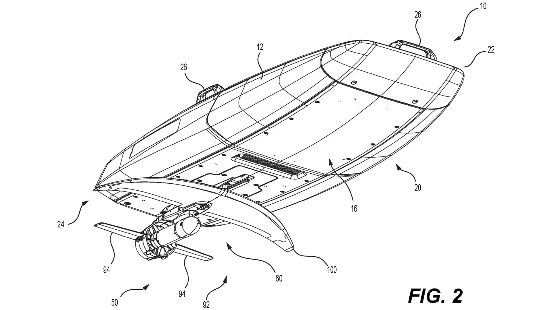
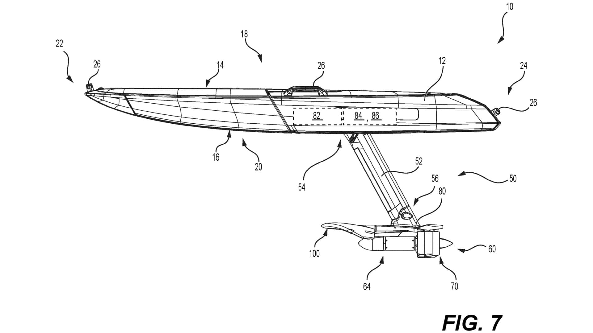
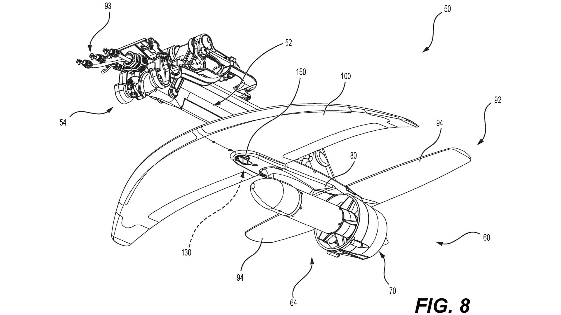
What we have is clearly a surfboard-esque shape that could also resemble that of a wakeboard, too. But the dimensions and style lean more toward the former versus the latter. Yet, it's when you get to the images that show what's beneath the craft, that's where things get very different compared to either. What you can see in the images here and in the patent is clearly a hydrofoil design.
For those who aren't up to date with their boating technology, a hydrofoil basically partially raises a watercraft out of the water, its hull no longer touching the surface, and glides through the water using wing-like protrusions and some form of propulsion. Boats have been using this technology for years, and some wakeboards powered by human locomotion can be seen on social media tearing it up.
However, BRP's patent looks to show this craft using some sort of electric propulsion with the battery located within the hull of the craft, and the propulsion system itself being able to retreat and extend from said hull.
According to the patent's description, "The present technology relates to lift-propulsion systems for watercraft. Surfboards are sometimes equipped with a hydrofoil to provide lift thereto, notably raising a running surface of the surfboard from the water to reduce drag. In addition to a hydrofoil, surfboards can also be equipped with a propulsion unit which provides thrust to the surfboard and thereby reduces user effort during operation of the surfboard."
So there you go, it's an all-electric hydrofoil surfboard that can raise and lower its propulsion system for easier use and storage. Neat! But does this jive with Sea-Doo's brand, as well as BRP's new mission to consolidate its powersport offerings? That's for you, as well as the market, to decide.




Related News